调制器提高运动控制效率设计方案介绍。
内容简介:电机控制中最常用的电流传感器为分流电阻、霍尔效应(HE)传感器以及电流互感器(CT)。虽然分流电阻不具有隔离功能且会引起损耗,但它是所有传感器中最具线性、成本最低且同时适用于交流和直流测量的传感器。为限制分流电阻功率损耗的信号电平衰减通常将分流应用损耗限制为50 A或更低。
工业运动控制涵盖一系列应用,包括基于逆变器的风扇或泵控制、具有更为复杂的交流驱动控制的工厂自动化以及高级自动化应用(如具有高级伺服控制的机器人)。这些系统需要检测多个变量,例如电机绕组电流或电压、直流链路电流或电压、转子位置和速度。变量的选择和所需的测量精度取决于终端应用需求、系统架构、目标系统成本或系统复杂度。还有其他考虑因素,例如状态监控等增值特性。据报道,电机占全球总能耗的40%,国际法规越来越注重全体工业运动应用的系统效率(参见图1)。
各种电机控制信号链拓扑中的电流和电压检测技术会因电机额定功率、系统性能要求和终端应用而有所差异。由于这个原因,不同的传感器选择、电流隔离要求、模数转换器选择、系统集成度和系统电源/接地划分,导致电机控制信号链实现方案也不相同。虽然隔离要求通常对最终电路拓扑和架构有着重要影响,但本文关注的重点是如何改善电流检测(作为一个影响因素)来实现更高效的电机控制系统。
电流和电压测量
图2所示为一个通用电机控制信号链。为实现高保真测量而进行的信号调理并非易事。相位电流检测尤其困难,因为该节点连接的电路节点与逆变器模块核心中的栅极驱动器输出的节点相同,因此在隔离电压和开关瞬变方面的需求也相同。
电机控制中最常用的电流传感器为分流电阻、霍尔效应(HE)传感器以及电流互感器(CT)。虽然分流电阻不具有隔离功能且会引起损耗,但它是所有传感器中最具线性、成本最低且同时适用于交流和直流测量的传感器。为限制分流电阻功率损耗的信号电平衰减通常将分流应用损耗限制为50 A或更低。电流互感器和霍尔效应传感器可提供固有的隔离,因此能够用于电流较高的系统,但它们的成本更高,并且在精度上不及采用分流电阻的解决方案,这是由于此类传感器本身的初始精度较差或者在温度方面的精度较差。与传感器类型不同,电机电流测量节点有很多选择,如图3所示,其中以直接同相绕组电流测量最为理想,可用于高性能系统。
有许多拓扑可用来检测电机电流,并需考虑多种因素,例如成本、功耗以及性能水平,但对大多数系统设计人员而言,一个重要目标是在成本控制范围内提高效率。
从霍尔效应传感器到分流电阻
与隔离式Σ-Δ调制器耦合的分流电阻可提供最优质的电流反馈,其中的电流电平足够低。目前,系统设计人员明显倾向于从霍尔效应传感器转移到分流电阻,并且与隔离式放大器方案相比,设计人员更倾向于采用隔离式调制器方案。将霍尔效应传感器替换为分流电阻的系统设计人员往往会选择隔离式放大器,并继续使用之前在基于霍尔效应传感器的设计中使用的模数转换器(ADC)。这种情况下,无论ADC性能如何,设计性能都会受到隔离式放大器的限制。
将隔离式放大器和ADC替换为隔离式Σ-Δ调制器可消除性能瓶颈,并大大改善设计,通常可将其从9到10位的优质反馈提升到12位水平。此外,还可配置处理Σ-Δ调制器输出所需的数字滤波器,以实现快速过流保护(OCP)环路,从而无需模拟过流保护电路。
现有Σ-Δ调制器可提供±250 mV(±320 mV满量程用于OCP)的差分输入范围,特别适合阻性分流器测量。模拟调制器对模拟输入持续采样,而输入信息则包含在数字输出流内,其数据速率最高可达20 MHz.通过适当的数字滤波器可重构原始信息。由于转换性能可与带宽或滤波器群延迟进行交换,因此更粗略、更快速的滤波器能够以大约2μs的时间提供快速OCP响应,非常适合IGBT保护。
缩小分流电阻尺寸
从信号测量方面来看,一些主要难题与分流电阻的选择有关,因为需要实现灵敏度和功耗之间的平衡。电阻自身的发热效应导致的非线性情况也会是使用较大电阻所面临的挑战。因此,设计人员必须做出权衡取舍,而更棘手的是,他们往往需要选择一个适当大小的分流电阻,以满足不同电流电平下各种型号和电机的需求。如果面对数倍于电机额定电流的峰值电流,并需要可靠捕获两者的值,则保持动态范围也是一个难题。
面对这些难题,系统设计人员非常需要具有更宽动态范围或更高信噪比和信纳比(SINAD)的优异Σ-Δ调制器。最新的隔离式Σ-Δ调制器产品具有16位分辨率,并可确保高达12位有效位数(ENOB)的性能。
转载请说明来自开云官方端网站登录入口(开云app)官方网站:/zixun/dianjibaike104.html
图1:工业驱动应用图谱
各种电机控制信号链拓扑中的电流和电压检测技术会因电机额定功率、系统性能要求和终端应用而有所差异。由于这个原因,不同的传感器选择、电流隔离要求、模数转换器选择、系统集成度和系统电源/接地划分,导致电机控制信号链实现方案也不相同。虽然隔离要求通常对最终电路拓扑和架构有着重要影响,但本文关注的重点是如何改善电流检测(作为一个影响因素)来实现更高效的电机控制系统。
电流和电压测量
图2所示为一个通用电机控制信号链。为实现高保真测量而进行的信号调理并非易事。相位电流检测尤其困难,因为该节点连接的电路节点与逆变器模块核心中的栅极驱动器输出的节点相同,因此在隔离电压和开关瞬变方面的需求也相同。
图2:通用电机控制信号链
电机控制中最常用的电流传感器为分流电阻、霍尔效应(HE)传感器以及电流互感器(CT)。虽然分流电阻不具有隔离功能且会引起损耗,但它是所有传感器中最具线性、成本最低且同时适用于交流和直流测量的传感器。为限制分流电阻功率损耗的信号电平衰减通常将分流应用损耗限制为50 A或更低。电流互感器和霍尔效应传感器可提供固有的隔离,因此能够用于电流较高的系统,但它们的成本更高,并且在精度上不及采用分流电阻的解决方案,这是由于此类传感器本身的初始精度较差或者在温度方面的精度较差。与传感器类型不同,电机电流测量节点有很多选择,如图3所示,其中以直接同相绕组电流测量最为理想,可用于高性能系统。
图3:隔离式和非隔离式电机电流反馈
有许多拓扑可用来检测电机电流,并需考虑多种因素,例如成本、功耗以及性能水平,但对大多数系统设计人员而言,一个重要目标是在成本控制范围内提高效率。
从霍尔效应传感器到分流电阻
与隔离式Σ-Δ调制器耦合的分流电阻可提供最优质的电流反馈,其中的电流电平足够低。目前,系统设计人员明显倾向于从霍尔效应传感器转移到分流电阻,并且与隔离式放大器方案相比,设计人员更倾向于采用隔离式调制器方案。将霍尔效应传感器替换为分流电阻的系统设计人员往往会选择隔离式放大器,并继续使用之前在基于霍尔效应传感器的设计中使用的模数转换器(ADC)。这种情况下,无论ADC性能如何,设计性能都会受到隔离式放大器的限制。
将隔离式放大器和ADC替换为隔离式Σ-Δ调制器可消除性能瓶颈,并大大改善设计,通常可将其从9到10位的优质反馈提升到12位水平。此外,还可配置处理Σ-Δ调制器输出所需的数字滤波器,以实现快速过流保护(OCP)环路,从而无需模拟过流保护电路。
现有Σ-Δ调制器可提供±250 mV(±320 mV满量程用于OCP)的差分输入范围,特别适合阻性分流器测量。模拟调制器对模拟输入持续采样,而输入信息则包含在数字输出流内,其数据速率最高可达20 MHz.通过适当的数字滤波器可重构原始信息。由于转换性能可与带宽或滤波器群延迟进行交换,因此更粗略、更快速的滤波器能够以大约2μs的时间提供快速OCP响应,非常适合IGBT保护。
缩小分流电阻尺寸
从信号测量方面来看,一些主要难题与分流电阻的选择有关,因为需要实现灵敏度和功耗之间的平衡。电阻自身的发热效应导致的非线性情况也会是使用较大电阻所面临的挑战。因此,设计人员必须做出权衡取舍,而更棘手的是,他们往往需要选择一个适当大小的分流电阻,以满足不同电流电平下各种型号和电机的需求。如果面对数倍于电机额定电流的峰值电流,并需要可靠捕获两者的值,则保持动态范围也是一个难题。
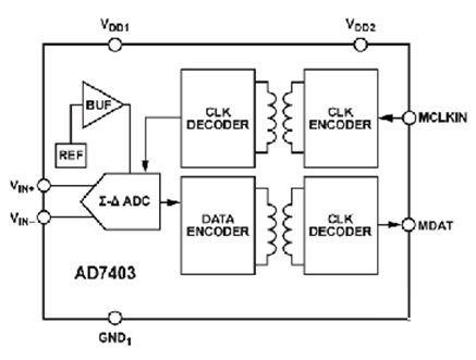
面对这些难题,系统设计人员非常需要具有更宽动态范围或更高信噪比和信纳比(SINAD)的优异Σ-Δ调制器。最新的隔离式Σ-Δ调制器产品具有16位分辨率,并可确保高达12位有效位数(ENOB)的性能。
图4:高性能二阶Σ-Δ调制器AD7403
转载请说明来自开云官方端网站登录入口(开云app)官方网站:/zixun/dianjibaike104.html
以上内容由开云官方端网站登录入口(开云app)网络编辑部收集整理发布,仅为传播更多电机行业相关资讯及电机相关知识,仅供网友、用户、及广大经销商参考之用,不代表开云官方端网站登录入口同意或默认以上内容的正确性和有效性。读者根据本文内容所进行的任何商业行为,开云官方端网站登录入口不承担任何连带责任。如果以上内容不实或侵犯了您的知识产权,请及时与我们联系,开云官方端网站登录入口网络部将及时予以修正或删除相关信息。
关键词:调制器,运动控制效率,设计方案,西玛电机,开云官方端网站登录入口,西安西玛电
分享给小伙伴们:
- 上一篇: 开关磁阻电机的特点及应用。
- 下一篇: 电机风罩的工作原理及其用途。
他们还浏览了...
- 2022-7-3电机风罩的工作原理及其用途。
- 2022-5-14高效节能电机过热原因分析
- 2022-4-17多大功率的电机才需要降压启动?
- 2022-4-10如何看懂电机的型号?
- 2022-4-10电机维修期间应考虑什么?
- 2018-3-2开关磁阻电机的特点及应用。
- 2018-3-1电机维修中错误的操作带来的危害性。
- 2018-2-23变频电机的应用场合。
- 2018-2-6如何防止永磁同步电机失磁?
- 2018-2-5伺服电机节能原理分析。
行业资讯
电机风罩的工作原理及其用途。
高压电机轴磨损维修的详细流程
三相异步电动机安装步骤以及西玛电机的故障检查
西玛电机接线中最常见的几种错误
绿色发展可以帮助电机厂家解决利润问题
高效节能电机过热原因分析
需要更换高效节能的电机的必要性分析!
西安西玛电机频率和速度之间的数学关系
高压电机轴磨损维修的详细流程
三相异步电动机安装步骤以及西玛电机的故障检查
西玛电机接线中最常见的几种错误
绿色发展可以帮助电机厂家解决利润问题
高效节能电机过热原因分析
需要更换高效节能的电机的必要性分析!
西安西玛电机频率和速度之间的数学关系
西安西玛电机举办“迎国庆”员工趣味运动项目比
关于西安西玛电机的工作制,大家了解一下。
西安西玛电机工会庆祝3月8日的评选颁奖活动。
西安西玛电机向在抗击疫情前线的工作人员们致敬
西安西玛电机职工安全生产知识宣传教育工作全面
开云官方端网站登录入口亮相第27届中国西部国际装备
开云官方端网站登录入口将高效节能三相异步电动机作为
西安西玛电机始终坚持诚信销售的理念。
关于西安西玛电机的工作制,大家了解一下。
西安西玛电机工会庆祝3月8日的评选颁奖活动。
西安西玛电机向在抗击疫情前线的工作人员们致敬
西安西玛电机职工安全生产知识宣传教育工作全面
开云官方端网站登录入口亮相第27届中国西部国际装备
开云官方端网站登录入口将高效节能三相异步电动机作为
西安西玛电机始终坚持诚信销售的理念。
泰富西玛电机
配套电柜
电机配件
YKK系列高压三相异步电机西安泰富西玛YKK系列(H355-1000)高压三相异步电机可作驱动
Y2系列紧凑型高压异步电机西安泰富西玛Y2系列(H355-560)6KV紧凑型高压异步电机可
YE3系列高效节能电机开云官方端网站登录入口生产的YE3系列高效节能电机达到了国标二级能效标准,
Z4系列直流电机西安泰富西玛Z4系列直流电动机比Z2、Z3系列具有更大的优越性,它不
Z2系列小型直流电机西安泰富西玛Z2系列电机为一般工业用小型直流电机,其电动机适用于恒功
ZTP型铁路机车动车用直流辅助西安泰富西玛ZTP系列西玛电机应能满足铁路机车动车用直流辅助电机通用



西安西玛电机紧跟电机行业的发展趋势,了解电机市场动态,制定出西玛电机的发展规划,稳步前行。
随着国家节能减排的积极推行,新能源汽车产业快速增长及高效节能电机补贴政策的逐步落实,高效节能电机业将迎来爆发式的增长。
西玛电机售后维修业务有:轴料加工件、钢板切割、焊接件、高压机壳、冷却器、上下罩、高、低压交直流电机;国内、外电机的修理、维护和试验。
质量为本,用户至上”是我公司一贯宗旨。“诚心、贴心、倾心、西玛永远用心”的“三心”服务理念。
开云官方端网站登录入口(开云app)是国内九大的电机供应商之一,产品包括各种高低压、交直流、高压同步电机等。

















