西玛电机分享交流电机的工作原理
内容简介:西安西玛交流电机依据电磁感应定律,将交流电能转换为机械能, 因结构简单、运行可靠、成本低、效率高等优点,在工业、交通运输、家用电器、航空航天等领域广泛应用。
西玛电机分享交流电机的工作原理。
交流电机是一种依据电磁感应定律,将交流电能转换为机械能的装置 ,在现代工业、交通运输、家用电器等众多领域广泛应用。西安西玛电机有限公司生产的交流电机主要分为异步电机(感应电机)和同步电机。

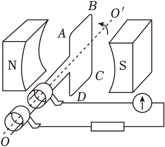
图为交流电机的工作原理示意图
当三相交流电流通入异步电机的定子绕组时,由于三相电流在时间上彼此相差 120° 电角度,且三相定子绕组在空间上也彼此相差 120° 电角度分布。
根据安培定律和电磁感应定律,三相电流会在定子铁芯中产生一个合成的旋转磁场。这个磁场的转速(同步转速n1)由电源频率f和电机的磁极对数p决定,计算公式为n1=60f/p 。例如,我国电网频率f=50HZ,若电机磁极对数p=1,则同步转速n1=3000r/min;若p=2,则n1=1500r/min 。
转子导体切割磁感线产生感应电动势和电流
旋转磁场以同步转速旋转时,转子导体与旋转磁场之间存在相对运动,相当于转子导体切割了磁感线。
根据电磁感应定律,转子导体中就会产生感应电动势。由于西玛电机转子绕组是闭合的,在感应电动势的作用下,转子导体中就会产生感应电流。
转子载流导体在磁场中受力产生电磁转矩
转子导体中有了感应电流后,根据安培力定律,载流导体在磁场中会受到力的作用。
这个力在转子上形成电磁转矩,驱使转子沿着旋转磁场的方向旋转。然而,异步电机的转子转n速始终小于同步转速n1,因为如果转子转速等于同步转速,转子导体与旋转磁场之间就不存在相对运动,也就不会产生感应电动势和电流,电磁转矩也就为零,所以称为 “异步” 电机 。转子转速与同步转速之间的差值称为转差s,转差与同步转速的比值称为转差率,即s=(n1-n)/n1 。
与异步电机类似,同步电机的定子绕组通入三相交流电后,也会在定子铁芯中产生一个旋转磁场,其同步转速n1=60f/p。
转子励磁产生恒定磁场
同步电机的转子上装有励磁绕组,通过直流励磁电流,使转子产生一个恒定的磁场(有 N 极和 S 极)。
转子与旋转磁场相互作用保持同步旋转
定子旋转磁场的磁极与转子励磁磁场的磁极之间存在相互吸引力,就像两块磁铁相互吸引一样。
定子旋转磁场以同步转速旋转时,会带动转子以相同的转速同步旋转,即转子转速n等于同步转速n1,这就是 “同步” 电机名称的由来。在运行过程中,只要电源频率f和电机磁极对数p不变,同步电机的转速就保持恒定。
西安西玛交流电机依据电磁感应定律,将交流电能转换为机械能, 因结构简单、运行可靠、成本低、效率高等优点,在工业、交通运输、家用电器、航空航天等领域广泛应用。
了解更多关于电机的知识,请关注西安西玛电机有限公司网站。公司专业技术团队为您免费提供电机的选型、安装、调试、保养等技术指导服务,尽量避免企业因为电机技术人员的短缺带来的损失,采取“线上+线下”服务的服务形式,帮助企业解决技术难题。
转载请说明来自开云官方端网站登录入口(开云app)官方网站:/zixun/dianjibaike765.html
交流电机是一种依据电磁感应定律,将交流电能转换为机械能的装置 ,在现代工业、交通运输、家用电器等众多领域广泛应用。西安西玛电机有限公司生产的交流电机主要分为异步电机(感应电机)和同步电机。

图为交流电机的工作原理示意图
西安西玛异步电机工作原理
定子产生旋转磁场当三相交流电流通入异步电机的定子绕组时,由于三相电流在时间上彼此相差 120° 电角度,且三相定子绕组在空间上也彼此相差 120° 电角度分布。
根据安培定律和电磁感应定律,三相电流会在定子铁芯中产生一个合成的旋转磁场。这个磁场的转速(同步转速n1)由电源频率f和电机的磁极对数p决定,计算公式为n1=60f/p 。例如,我国电网频率f=50HZ,若电机磁极对数p=1,则同步转速n1=3000r/min;若p=2,则n1=1500r/min 。
转子导体切割磁感线产生感应电动势和电流
旋转磁场以同步转速旋转时,转子导体与旋转磁场之间存在相对运动,相当于转子导体切割了磁感线。
根据电磁感应定律,转子导体中就会产生感应电动势。由于西玛电机转子绕组是闭合的,在感应电动势的作用下,转子导体中就会产生感应电流。
转子载流导体在磁场中受力产生电磁转矩
转子导体中有了感应电流后,根据安培力定律,载流导体在磁场中会受到力的作用。
这个力在转子上形成电磁转矩,驱使转子沿着旋转磁场的方向旋转。然而,异步电机的转子转n速始终小于同步转速n1,因为如果转子转速等于同步转速,转子导体与旋转磁场之间就不存在相对运动,也就不会产生感应电动势和电流,电磁转矩也就为零,所以称为 “异步” 电机 。转子转速与同步转速之间的差值称为转差s,转差与同步转速的比值称为转差率,即s=(n1-n)/n1 。
西安西玛同步电机工作原理
定子产生旋转磁场与异步电机类似,同步电机的定子绕组通入三相交流电后,也会在定子铁芯中产生一个旋转磁场,其同步转速n1=60f/p。
转子励磁产生恒定磁场
同步电机的转子上装有励磁绕组,通过直流励磁电流,使转子产生一个恒定的磁场(有 N 极和 S 极)。
转子与旋转磁场相互作用保持同步旋转
定子旋转磁场的磁极与转子励磁磁场的磁极之间存在相互吸引力,就像两块磁铁相互吸引一样。
定子旋转磁场以同步转速旋转时,会带动转子以相同的转速同步旋转,即转子转速n等于同步转速n1,这就是 “同步” 电机名称的由来。在运行过程中,只要电源频率f和电机磁极对数p不变,同步电机的转速就保持恒定。
西安西玛交流电机依据电磁感应定律,将交流电能转换为机械能, 因结构简单、运行可靠、成本低、效率高等优点,在工业、交通运输、家用电器、航空航天等领域广泛应用。
了解更多关于电机的知识,请关注西安西玛电机有限公司网站。公司专业技术团队为您免费提供电机的选型、安装、调试、保养等技术指导服务,尽量避免企业因为电机技术人员的短缺带来的损失,采取“线上+线下”服务的服务形式,帮助企业解决技术难题。
转载请说明来自开云官方端网站登录入口(开云app)官方网站:/zixun/dianjibaike765.html
以上内容由开云官方端网站登录入口(开云app)网络编辑部收集整理发布,仅为传播更多电机行业相关资讯及电机相关知识,仅供网友、用户、及广大经销商参考之用,不代表开云官方端网站登录入口同意或默认以上内容的正确性和有效性。读者根据本文内容所进行的任何商业行为,开云官方端网站登录入口不承担任何连带责任。如果以上内容不实或侵犯了您的知识产权,请及时与我们联系,开云官方端网站登录入口网络部将及时予以修正或删除相关信息。
关键词:西玛电机,交流电机
分享给小伙伴们:
- 上一篇: 如何选择适合破碎机的西玛电机
- 下一篇: 高压电机的性能受热腐蚀的影响吗?
他们还浏览了...
- 2025-8-11高压电机的性能受热腐蚀的影响吗?
- 2025-6-24高压电机线圈端部放电与防晕处理
- 2025-6-17三相异步电机安装的注意事项
- 2025-6-17三相异步电机的安装步骤详解
- 2025-5-28西安西玛电机630KW高压电机接线工艺深度解析
- 2025-1-10如何选择适合破碎机的西玛电机
- 2024-12-17西安西玛交流电机选型指南
- 2024-12-10西玛电机的一级能效与三级能效的简单对比
- 2024-12-3三相异步电动机转子电流方向的简单判断方法
- 2024-10-28高压电机直接启动的关键条件分析
行业资讯
高压电机节能改造在大型工厂能效提升的重大意义
高压电机的性能受热腐蚀的影响吗?
西安西玛高压电机检修都有啥项目呢?
高压电机线圈端部放电与防晕处理
三相异步电机安装的注意事项
三相异步电机的安装步骤详解
西安西玛电机630KW高压电机接线工艺深度解
西安西玛YKK高压电机高效节能背后的技术逻辑
高压电机的性能受热腐蚀的影响吗?
西安西玛高压电机检修都有啥项目呢?
高压电机线圈端部放电与防晕处理
三相异步电机安装的注意事项
三相异步电机的安装步骤详解
西安西玛电机630KW高压电机接线工艺深度解
西安西玛YKK高压电机高效节能背后的技术逻辑
防爆电机为什么推荐西玛电机这个品牌?
西安西玛电机在食品级输送机的创新与探索
浅谈西玛电机近年的变革之路
深入解析开云官方端网站登录入口的卓越优势
西安西玛YE5高效电机深得用户信赖和认可!
电控学院与开云官方端网站登录入口有限公司举行产学研
西安西玛电机与西北工业大学开展“双进”活动,
西玛YR355M3-8 YRW355M3-8
西安西玛电机在食品级输送机的创新与探索
浅谈西玛电机近年的变革之路
深入解析开云官方端网站登录入口的卓越优势
西安西玛YE5高效电机深得用户信赖和认可!
电控学院与开云官方端网站登录入口有限公司举行产学研
西安西玛电机与西北工业大学开展“双进”活动,
西玛YR355M3-8 YRW355M3-8
泰富西玛电机
配套电柜
电机配件
YKK系列高压三相异步电机西安泰富西玛YKK系列(H355-1000)高压三相异步电机可作驱动
Y2系列紧凑型高压异步电机西安泰富西玛Y2系列(H355-560)6KV紧凑型高压异步电机可
YE3系列高效节能电机开云官方端网站登录入口生产的YE3系列高效节能电机达到了国标二级能效标准,
Z4系列直流电机西安泰富西玛Z4系列直流电动机比Z2、Z3系列具有更大的优越性,它不
Z2系列小型直流电机西安泰富西玛Z2系列电机为一般工业用小型直流电机,其电动机适用于恒功
ZTP型铁路机车动车用直流辅助西安泰富西玛ZTP系列西玛电机应能满足铁路机车动车用直流辅助电机通用



西安西玛电机紧跟电机行业的发展趋势,了解电机市场动态,制定出西玛电机的发展规划,稳步前行。
随着国家节能减排的积极推行,新能源汽车产业快速增长及高效节能电机补贴政策的逐步落实,高效节能电机业将迎来爆发式的增长。
西玛电机售后维修业务有:轴料加工件、钢板切割、焊接件、高压机壳、冷却器、上下罩、高、低压交直流电机;国内、外电机的修理、维护和试验。
质量为本,用户至上”是我公司一贯宗旨。“诚心、贴心、倾心、西玛永远用心”的“三心”服务理念。
开云官方端网站登录入口(开云app)是国内九大的电机供应商之一,产品包括各种高低压、交直流、高压同步电机等。













